Estrattore Aria Destro Per Aprilia RS RSV4 CODICE 893979

€ 6,34
  • Disponibilità 0 pezzi
  • Marca: Ricambi Original Aprilia Piaggio
  • Condizione: Nuovo
  • Costo di Spedizione da €7.00
  • Codice: 893979
  • Condividi su

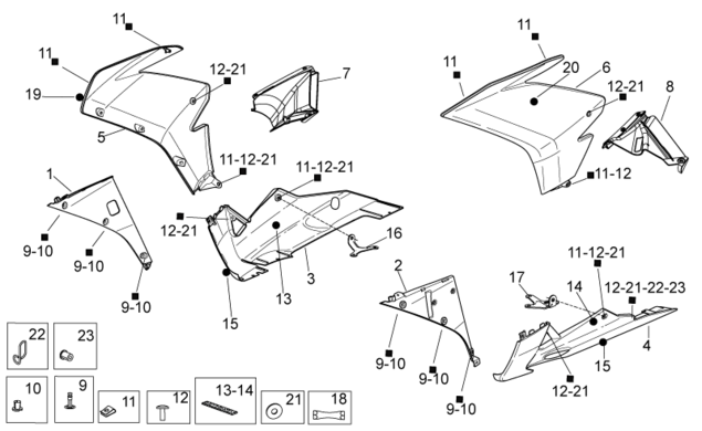
(PARTICOLARE NUMERO 7 DELLA FIGURA DELLO SCHEMA)

Aprilia

Applicazioni Codice : 893979
Descrizione Cilind Anno Telaio/VDS
RS4 50 2011-2013 TK000
RS4 50 2014-2014 TK000/VX000
RS4 125 2011-2013 TW000
RS4 125 2014-2014 TW000
RSV4 APRC R ABS 1000 2013-2014 RKH/RKU04/RKUA4
RSV4 APRC R 1000 2011-2012 RKE00/RKE01
RSV4 FACTORY - SBK RACING 1000 2009-2010 RK000/RK001/RKC00
RSV4 FACTORY APRC ABS 1000 2013-2014 RKG/RKU02/RKB03
RSV4 FACTORY APRC STD - SE 1000 2011-2012 RKB00/RKB01
RSV4 R 1000 2009-2010 RKA00/RKC01