Base Di Sterzo piastra inferiore forcella Aprilia Dorsoduro 750 codice 856496

€ 435,72€ 375,00 -13.94%
  • Disponibilità 0 pezzi
  • Marca: Ricambi Original Aprilia Piaggio
  • Condizione: Nuovo
  • Costo di Spedizione da €7.00
  • Codice: 856496
  • Condividi su

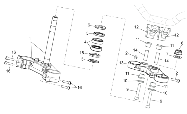
(PARTICOLARE NUMERO 1 DELLA FIGURA DELLO SCHEMA)

Aprilia

Applicazioni Codice : 856496
Descrizione Cilind Anno Telaio/VDS
DORSODURO FACTORY 750 2010-2013 SMB00/SMB01
DORSODURO 750 2008-2014 SM000/SMA00/SMC00

piastra sterzo forcella inferiore