Filtro Benzina Per Aprilia Codice AP8102971

€ 26,18
  • Disponibilità 0 pezzi
  • Marca: Ricambi Original Aprilia Piaggio
  • Condizione: Nuovo
  • Costo di Spedizione da €7.00
  • Codice: AP8102971
  • Condividi su

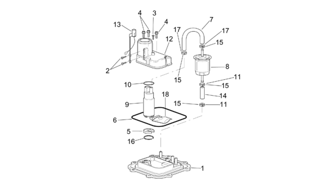
(PARTICOLARE NUMERO 8 DELLA FIGURA DELLO SCHEMA)

Aprilia

Applicazioni Codice : AP8102971
Descrizione Cilind Anno Telaio/VDS
SL FALCO 1000 2002-2003 PA00
RSV, RSV R 1000 2001-2002 MY01 IM.C & MY02 IM.B RP00/RPA0
RSV R TUONO 1000 2002-2005 RPB00/RPB06/RPB09
RST FUTURA 1000 2001-2003 PW003
ETV CAPO NORD ABS 1000 2004-2007 PS004
ETV CAPO NORD - RALLY 1000 2001-2003 PS00/PSB0