Paraolio Forcella Per Aprilia Dorsoduro 750 Codice 890396

€ 17,69
  • Disponibilità 0 pezzi
  • Marca: Ricambi Original Aprilia Piaggio
  • Condizione: Nuovo
  • Costo di Spedizione da €7.00
  • Codice: 890396
  • Condividi su

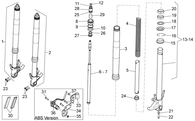
(PARTICOLARE NUMERO 17 DELLA FIGURA DELLO SCHEMA)

Aprilia

Applicazioni Codice : 890396
Descrizione Cilind Anno Telaio/VDS
DORSODURO 750 2008-2015 SM000/SMA00/SMC00