Rullo singoli per variatore motore 400 E 500cc Piaggio Aprilia Gilera entra per apllicazioni cod 849914

€ 6,82€ 4,00 -41.35%
  • Disponibilità 0 pezzi
  • Marca: Ricambi Original Aprilia Piaggio
  • Condizione: Nuovo
  • Costo di Spedizione da €7.00
  • Codice: 849914
  • Condividi su

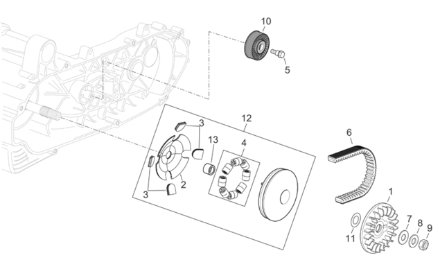
(PARTICOLARE NUMERO 4 DELLA FIGURA DELLO SCHEMA)

 

Aprilia

Applicazioni Codice : 849914
Descrizione Cilind Anno Telaio/VDS
ATLANTIC SPRINT 400-500 400 2005-2008 VL000/VLA00/VLB00
SCARABEO LIGHT 400-500 400 2006-2008 VR000/VRA00/VRE00

 

Piaggio

Applicazioni Codice : 849914
Descrizione Cilind Anno Telaio/VDS
BEVERLY EURO 3 400 2006-2007 M34300
BEVERLY TOURER EURO3 400 2008-2010 M34400
MP3 IE LT - MP3 IE LT SPORT 400 2008-2010 M64200
MP3 IE LT TOURING 400 2011-2011 M64200
MP3 MIC 400 2008-2010 M59102
MP3 RL TOURING 400 2011-2011 M59101
MP3 400 2007-2008 M59100/01
X EVO 400 2007-2011 M52101
X8 EURO3 400 2006-2008 M52100